

SSC9211是一种用于USB-CAM应用程序跟场景的高度集成的SOC产品。平台本身基于ARM层-A7双核,内置16位,64M的DDR2,集成了图像传感器接口、高级ISP、高性能JPEG编码器和其他丰富的外设接口。支持单,双 MIPI sensor方案,最大支持1920x1080,30fps高清录像(单MIPI ,双Lane方案)。该方案集成度高.成本低,录像清晰,支持Linx跟Rots系统,IC封装小,具有开发简洁等优势对于中低端USB_CAM具有一定的优势。
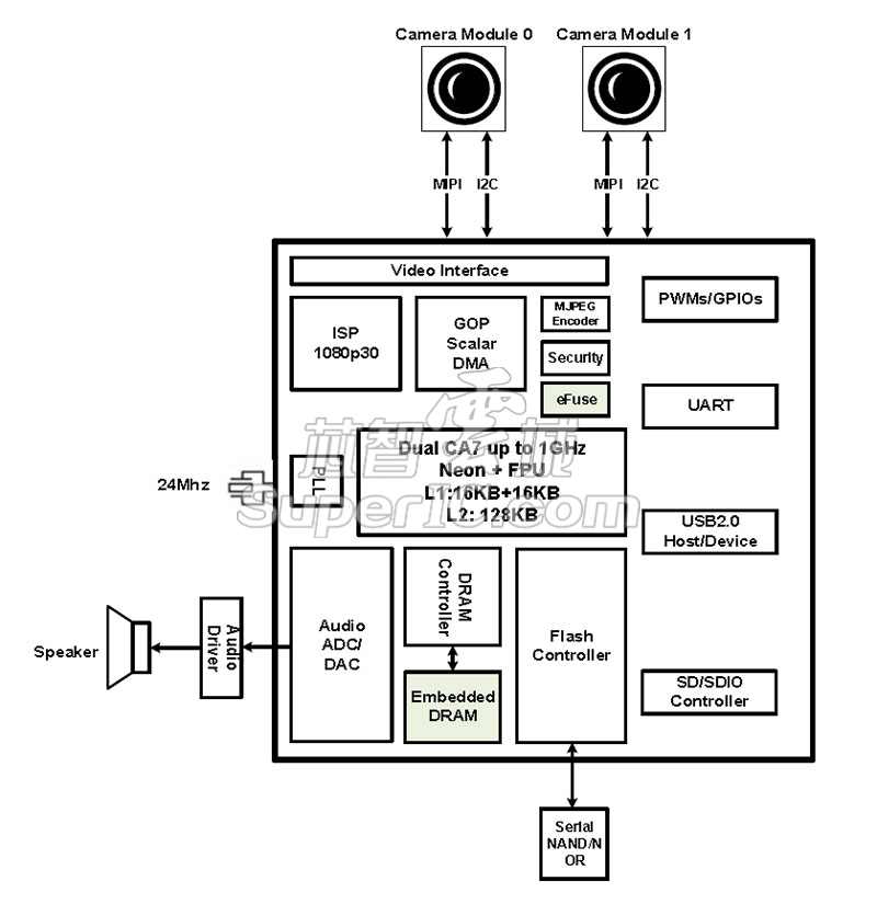
方案框图:

功能描述:
*支持双Sensor MIPI方案,最大支持1920x1080,30fps;
*支持8bit的BT656的串行接口sensor;
*内置DA/AD 模块,支持DMIC输入跟单声道DAC输出;
*内置Flash Conrol接口,支持外挂Nor Flash跟Nand Flash;
*具有完整的SDIO2.0接口,支持SD卡;
*具有一路完整的USB2.0的接口
*具有完整的SPI,I2S,I2C,SAR_ADC,PWM,UART等接口复用
USB_CAM
芯智云城可提供项目对应的电路图、PCB参考板图、源代码、以及项目对应的软硬件开发技术支持。
下表仅供参考,请以实物为准
The table is for reference only, the actual item is the standard.


了解更多技术细节,需要一些技术咨询
需要一定的技术开发,更多功能和接口,或性能进一步提升
选型和替代优化,寻求可信赖的供货商
在线与我们沟通,并转接销售和技术支持。
添加我们的微信客服,可离线为您服务。